近日,天猫对一项「诱导第三方规则」进行了新调整,其中明确禁止了商家包裹卡引流到其他平台的行为。
包裹卡是目前很多品牌私域引流的重要渠道,私域如何获取新增量成为品牌商家急需解决的问题。
小裂变即将上线的智能客服,可帮助企业安全、合规高效将公域流量引流私域,解决企业公域引流私域效率低、成本高、有风险等难题。同时,分享员组队玩法上线将助力企业更高效做好销量增长,还有30+产品功能升级,帮助企业更高效做好私域。
接下来,我们一起来看看本月的重点功能更新!
智能客服即将上线
公域引流私域,不花一分钱,获客更高效
为帮助企业实现更灵活和丰富的公域引流能力,提升获客转化率,降低获客成本,实现全域转私域,小裂变即将上线智能客服功能。企业可将智能客服链接配置在微信内/外的获客场景,客户点击后进入客服聊天页面,系统支持推送配置的活码,客户识别后即可添加好友。二维码可以实现客户分流、自动改备注、打标签,便于后续开展精准客户营销、精细化客户运营。企业可在包括微信内的视频号、公众号、小程序、支付凭证,微信外的短视频、知识、搜索平台的广告落地页,及短信、官网和外部App等各场景使用,将公域流量导流私域。智能客服在不同引流触点、平台怎么使用?如何使用智能客服高效、免费将公域流量引流私域呢?目前,智能客服内测开放中,扫描下方二维码即可免费体验。功能正式上线后,我们将给大家分享智能客服的详细玩法及应用场景。
视频号分销玩法通过佣金机制激励客户成为分享员,主动参与分销,获取分销奖励,助力品牌商家拓展销售渠道,提升销售转化。但当企业招募了一定数量的分享员后,分享员的运营、管理成本也会相应增加。为帮助企业实现低成本运营分享员,持续提升分销业绩,小裂变·视频号助手将于本月上线分享员组队玩法。通过分享员组队玩法,企业完成组队机制设置后,通过现金奖励驱动团长主动招募、管理分享员,带领团队分享员卖货。分享员组队玩法助力商家减轻分享员运营、管理成本的同时,可实现分享员招募量、销售额同步、高效增长。
通过分享员组队玩法,企业分享员招募和团长主动招募可同步开展,助力企业更高效招募分享员。分享员组队玩法支持设置为仅团队可邀请分享员成为团员、团长和团员可邀请分享员成为团员、不允许邀请分享员成为团员,如设置为仅团长可邀请或团长和团员都可邀请,可通过团长和团员的自有渠道资源,实现更高效分享员招募。
团长可在「我的团队」中查看团员管理和邀请记录 ,掌握团队分享员招募情况。②更高效提升销售转化
团长帮助团员做好分销,可获取佣金和团队业绩奖励金双重奖励,推动团长更积极指导、帮助团员提升销售业绩。
团长可进入分销员管家查看团队奖励以及团队业绩明细、团队销售排行榜,实时了解团队的销售情况。
通过团长帮助,分享员可达成更高的销售业绩,获取更多分销佣金,分享员可进入分销员管家查看自己的收益明细,通过“团队销售排行榜”,查看、了解自己在当前队伍中的业绩排名,激励团员冲刺、完成更多销售业绩。有些客户成为分享员后不知道怎么做分销,或销售业绩不高,导致分销积极性低。分享员太多,一对一指导、维护成本太高,很难执行到位。通过分享员组队玩法,企业可将分销玩法、技巧等整理出来,同步给团长或对团长进行培训,再让团长带领团员学会、做好分销,帮助企业高效管理分享员。
企业运营管理人员通过系统后台-数据分析,可高效、全面了解不同团队的分享员招募和销售业绩数据。
比如,可通过数据概览了解在团人数、退团人数、团队销售额、团队奖励金额,还可通过进团记录、邀团记录、团队订单、团队奖励等数据维度,查看详细的团员邀请和团队销售数据。
小裂变·SCRM
20+功能升级,助力企业高效做私域
为便于企业更高效完善客户画像,表单支持关联客户画像,如表单开启关联客户画像,客户完成表单信息填写后,对应的客户信息将自动同步至客户画像。如客户信息与原客户画像信息不一致,将自动同步最新信息至客户画像,实现客户画像自动更新。通过表单可帮助企业有效收集客户信息,为便于一线员工同步掌握相关客户信息,及时做好客户跟进,表单升级为员工可查看客户填写的表单内容。如客户完成表单填写后,员工可查看客户提交的表单信息。客户什么时候领取了核销码?领取后是否使用、核销?为帮助企业更智能化掌握客户核销码的领取及使用情况,核销码功能新增「智能跟进」,便于企业根据跟进情况开展精准客户营销。

如门店想对一个月内到店使用了核销码的客户再次发送福利、优惠,吸引客户二次到店消费,可将标签规则设置为使用核销码并打上对应标签。通过标签筛选出这批客户进行消息群发,精准触达这些客户,提升门店的到店率。为便于企业将客户数据进行导出、分析,客户标签分析、客户阶段分析新增「数据导出」功能。企业可根据业务需求,根据所属员工、添加时间、添加渠道等维度进行数据筛选,点击「数据导出」即可一键导出对应数据。为帮助一线员工更便利调整客户阶段,本月对客户阶段设置进行了优化、升级,客户阶段设置、调整路径更短,操作更便捷,员工点击聊天工具栏-客户画像,即可直接选中客户目前所处的阶段进行调整、更新。升级前员工调整客户阶段路径
例如,一线员工在客户沟通的过程中,客户下单了产品,客户阶段由“未下单客户”变为“已购客户”,员工即可点击客户画像,高效更新客户阶段信息,便于后续针对性地进行客户跟进。为便于企业集中了解某一阶段的客户特征,客户列表新增“客户阶段”字段的筛选。例如,运营管理人员想集中了解“潜在客户”的信息特点,可通过“客户阶段”筛选出潜在客户进行查看。为方便企业更高效管理分享员,分享员管理新增「备注」功能。企业可为分享员和下级客户设置备注,完成设置后,将在分享员列表中做展示。企业运营管理人员可点击「编辑」逐一添加备注,也可一次选中多个分享员,批量添加备注,备注添加更高效。企业可根据分享员管理需求,针对性地给客户打备注。例如,根据分享员招募来源、加入时间、销售业绩等维度打备注,便于企业运营管理人员更高效管理分享员。分享员信息展示、查询升级
助力企业精准定位对应分享员
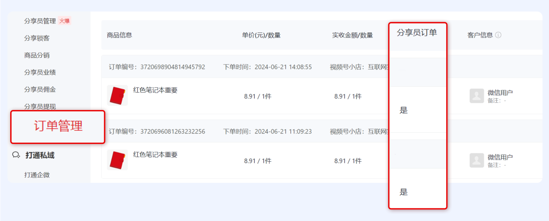
由于官方机制,平台无法获得下单用户信息,导致视频号分销下级客户多数无法展示客户信息。基于以上场景,分享员管理新增分享员信息展示和查询项,并在数据导出增加对应数据,优化客户在系统内唯一身份标识。通过客户openid,帮助企业精准定位对应分享员。为帮助企业更全面、清晰掌握分享员订单数据,订单管理列表新增「分享员订单」字段展示,让运营管理人员了解订单是否来自分享员。同时,订单数据导出还新增了订单商品的一级佣金、二级佣金、自购佣金、佣金结算状态数据维度,助力企业更清晰、全面了解、统计、分析商品佣金数据,便于企业根据数据及时优化佣金机制。佣金结算时机的设置,不仅可有效提升客户参与分销的积极性,也可有效保障企业的资金安全,避免客户退单,佣金难追回带来的损失。通常,佣金结算时机设置为订单完成并确认收货7天后结算,保障企业资金安全的同时,也可避免结算时间太长打消客户参与分销的积极性。但由于行业的特殊性,有些企业佣金结算时间设置更长或更短与业务需求更匹配。为此,本月佣金结算时间开放为自定义,企业可自主设置结算时长。例如,教育行业,课程售卖之后,一个月内支持无责退款,为避免客户退课带来的佣金损失,企业可将佣金结算时间自定义为订单确认收货后30天结算佣金。以上,就是小裂变6月重点产品更新介绍,添加小裂变私域增长顾问,可了解更多功能详情,还可免费领取试用哦~